|
FP-XT型氧氣管道阻火器和FPV-XT型氧氣管道閥門前、后阻火器是采用特種銅合金和不銹鋼焊接而成。可以有效地防止氧氣管道閥門在突然開啟時易形成的“絕熱壓縮”,局部溫度驟升,成為著火能源;可以防止在閥門前后壓差作用下,高速運動的物質微粒(如鐵銹、粉塵、焊渣等)與閥后管道摩擦、撞擊產生火花而成為著火能源。阻火器的使用可以迅速阻斷火源,杜絕管道中燃爆事故的發生。本產品廣泛應用于冶金、化工等行業的氧氣輸送管道,可有效地切斷因高速氣流中雜物與管壁急劇磨擦產生的火源,杜絕管道燃爆事故的發生。用戶可直接將本產品與輸氧管道的適當部位焊接連通即可運行。 本阻火器適用于管道DN15-500mm,工作壓力不大于3MPa的氧氣管道阻火之用。有法蘭、內螺紋連接。


氧氣管道阻火器性能及材質
|
公稱通徑(DN) |
15-500 |
|
公稱壓力(MPa) |
1.6 |
2.5 |
|
試驗壓力 (MPa) |
強度 |
2.4 |
3.75 |
|
密封 |
1.76 |
2.75 |
|
適用介質 |
氧氣 |
|
阻燃器材質 |
銅 |
|
接頭材質 |
不銹鋼 |
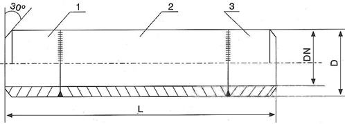
氧氣管道阻火器主要外形及連接尺寸
|
公稱通徑DN |
FP-XT氧氣管道阻火器 |
FPV-XT氧氣管道閥門前、后阻火器 |
|
型號規格 |
D |
L |
型號規格 |
D |
L |
|
15 |
FP-1.5T |
18 |
600 |
FP-1.5T |
18 |
1600 |
|
20 |
FP-2.0T |
25 |
600 |
FP-2.0T |
25 |
1600 |
|
25 |
FP-2.5T |
32 |
600 |
FP-2.5T |
32 |
1600 |
|
32 |
FP-3.2T |
38 |
600 |
FP-3.2T |
38 |
1600 |
|
40 |
FP-4.0T |
48 |
600 |
FP-4.0T |
48 |
1600 |
|
50 |
FP-5.0T |
57 |
700 |
FP-5.0T |
57 |
1700 |
|
65 |
FP-6.5T |
76 |
700 |
FP-6.5T |
76 |
1700 |
|
80 |
FP-8.0T |
89 |
700 |
FP-8.0T |
89 |
1700 |
|
100 |
FP-10T |
108 |
700 |
FP-10T |
108 |
1700 |
|
125 |
FP-12.5T |
133 |
700 |
FP-12.5T |
133 |
1700 |
|
150 |
FP-15T |
159 |
800 |
FP-15T |
159 |
1800 |
|
200 |
FP-20T |
219 |
800 |
FP-20T |
219 |
1800 |
|
250 |
FP-25T |
273 |
800 |
FP-25T |
273 |
1800 |
|
300 |
FP-30T |
325 |
800 |
FP-30T |
325 |
1800 |
|
350 |
FP-35T |
377 |
800 |
FP-35T |
377 |
2050 |
|
400 |
FP-40T |
426 |
800 |
FP-40T |
426 |
2300 |
|
450 |
FP-45T |
480 |
800 |
FP-45T |
480 |
2550 |
|
500 |
FP-50T |
530 |
800 |
FP-50T |
530 |
2800 | |